require_once('chevron.inc');
commonHeader("Chevron, Inc.",1);
$colour[0]="#c3c3c3";
$colour[1]="#dadada";
?>
Chevron, Inc. - Parts
|
Series 16 |

|
Back to Manual Contents |
|
|
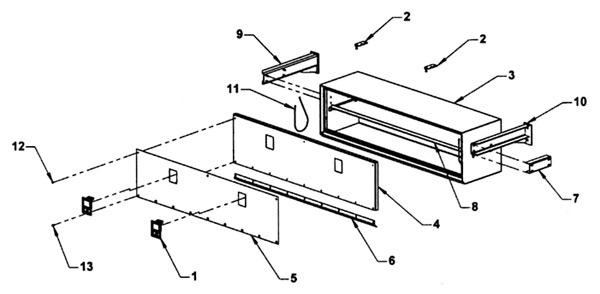
65" Aluminum Toolbox
- 37900 |
|
 |
|
ITEM |
PART
NUMBER |
DESCRIPTION |
NUMBER
REQUIRED |
|
1 |
54658 |
ROTARY PADDLE LATCH |
2 |
|
|
54657 |
GASKET FOR PADDLE LATCH |
2 |
|
|
81111 |
#8-32 x 1/2 STAINLESS ONE WAY SCREW |
8 |
|
|
83111 |
#8-32 STAINLESS KEPT NUT |
8 |
|
2 |
376182 |
STRIKER PIN MOUNTING PLATE |
2 |
|
|
54659 |
STRIKER PIN |
2 |
|
|
83125 |
NYLON LOCK NUT 5/16-18 |
2 |
|
3 |
37910W |
BOX WELDMENT |
1 |
|
4 |
37920W |
DOOR WELDMENT |
1 |
|
|
37920A |
DOOR ASSEMBLY |
1 |
|
5 |
37925 |
STAINLESS STEEL DOOR COVER PANEL |
1 |
|
6 |
37930 |
HINGE |
1 |
|
7 |
37960 |
TANDEM BOX SPACER CHANNEL (OPTIONAL) |
1 |
|
8 |
37970 |
SHELF |
1 |
|
9 |
37850L |
TOOLBOX MOUNTING BRACKET - LEFT |
1 |
|
10 |
37850R |
TOOLBOX MOUNTING BRACKET - RIGHT |
1 |
|
11 |
5A221 |
LANYARD - 21 INCH |
2 |
|
12 |
81100 |
STAINLESS CARRIAGE BLOT 1/4-20 x 3/4 |
3 |
|
|
83100 |
NUT 1/4-20 |
3 |
|
|
82020 |
LOCK WASHER 1/4 |
3 |
|
13 |
81115 |
STAINLESS CARRIAGE BLOT 5/16-18 x 3/4 |
18 |
|
|
83115 |
NUT 5/16-18 |
18 |
|
|
82130 |
LOCK WASHER 5/16 |
18 |
|
|
82110 |
FLAT WASHER 5/16 |
18 |
|
|
|
|
commonFooter();
?>