require_once('chevron.inc');
commonHeader("Chevron, Inc.",1);
$colour[0]="#c3c3c3";
$colour[1]="#dadada";
?>
Chevron, Inc. - Parts
|
Series 16 |

|
Back to Manual Contents |
|
|
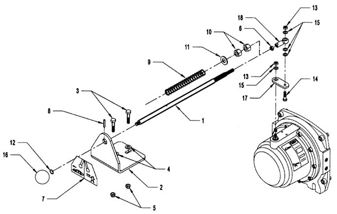
Warn Winch Remote Clutch |
|
 |
|
ITEM |
MFGR |
PART
NUMBER |
DESCRIPTION |
NUMBER
REQUIRED |
| 1 |
CHEVRON |
71873 |
REMOTE CLUTCH ROD |
1 |
|
2 |
CHEVRON |
71874 |
REMOTE HANDLE BRACKET |
1 |
|
3 |
CHEVRON |
81122 |
5/16-18 UNC x 1-1/2 BOLTS |
2 |
|
4 |
CHEVRON |
82130 |
5/16 FLAT WASHER |
2 |
|
5 |
CHEVRON |
83125 |
5/16-18 UNC NYLON LOCK NUT |
2 |
|
6 |
CHEVRON |
83215 |
3/8-24 UNF NUT |
1 |
|
7 |
CHEVRON |
AA870 |
HANDLE BRACKET DECAL |
1 |
|
8 |
CHEVRON |
84680 |
3/16 x 1 SPLIT PIN |
1 |
|
9 |
CHEVRON |
71875 |
SPRING |
1 |
|
10 |
CHEVRON |
83310 |
1/2-13 UNC NUT |
2 |
|
11 |
CHEVRON |
82310 |
1/2 FLAT WASHER |
1 |
|
12 |
WARN |
WW1146 |
3/8 STAR WASHER |
1 |
|
13 |
WARN |
WW6779 |
3/8-16 UNC NYLON LOCK NUT |
2 |
|
14 |
WARN |
WW8160 |
3/8-16 UNC x 1-1/2 BOLT |
1 |
|
15 |
WARN |
WW11524 |
3/8 FLAT WASHER |
4 |
|
16 |
WARN |
WW15604 |
CLUTCH ROD KNOB |
1 |
|
17 |
WARN |
WW25364 |
CLUTCH SHIFTER PLATE |
1 |
|
18 |
WARN |
WW25671 |
BALL JOINT ROD END |
1 |
|
|
|
|
commonFooter();
?>