require_once('chevron.inc');
commonHeader("Chevron, Inc.",1);
$colour[0]="#c3c3c3";
$colour[1]="#dadada";
?>
Chevron, Inc. - Parts
|
Series 16 |

|
Back to Manual Contents |
|
|
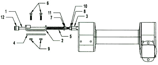
Ramsey Winch Clutch Handle |
|
 |
|
ITEM |
PART
NUMBER |
DESCRIPTION |
NUMBER
REQUIRED |
| 1 |
71810 |
REMOTE CLUTCH ROD |
1 |
|
2 |
71811 |
REMOTE CLUTCH MOUNTING BRACKET |
1 |
|
3 |
71812 |
1/2-13 UNC COUPLING |
1 |
|
4 |
71813 |
1/4 UHMW SHIM (FOR STEEL CARRIERS) |
1 |
|
5 |
71815 |
REMOTE CLUTCH SPRING |
1 |
|
6 |
81243 |
3/8 x 1-3/4 UNC BOLT |
2 |
|
7 |
82310 |
1/2 FLAT WASHER |
1 |
|
8 |
82320 |
1/2 LOCK WASHER |
1 |
|
9 |
83211 |
3/8-13 UNC NYLON LOCK NUT |
2 |
|
10 |
83311 |
1/2-13 UNC NUT |
1 |
|
11 |
83321 |
1/2-13 UNC NYLON LOCK NUT |
1 |
|
12 |
88105 |
T-HANDLE |
1 |
|
|
84665 |
5/32 x 1 PLATED ROLL PIN |
1 |
|
|
|
|
commonFooter();
?>