require_once('chevron.inc');
commonHeader("Chevron, Inc.",1);
$colour[0]="#c3c3c3";
$colour[1]="#dadada";
?>
Chevron, Inc. - Parts
|
Series 16 |

|
Back to Manual Contents |
|
|
Control Components |
|
 |
|
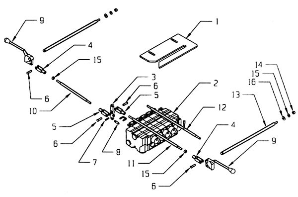
ITEM |
PART
NUMBER |
DESCRIPTION |
NUMBER
REQUIRED |
| 1 |
33813 |
ANTI- TILT BRACKET |
1 |
|
2 |
74115 |
CONTROL VALVE -5 SPOOL |
1 |
|
3 |
7A121 |
BELL CRANK |
5 |
|
4 |
84520 |
CLEVIS 3/8-24 RIGHT HAND THREAD |
10 |
|
5 |
84520 |
CLEVIS 3/8-24 LEFT HAND THREAD |
10 |
|
6 |
84620 |
3/8 CLEVIS PIN |
20 |
|
7 |
84610 |
1/4 CLEVIS PIN |
5 |
|
8 |
7A010 |
PIN AND LINK ASSEMBLY |
5 |
|
9 |
7A111 |
CONTROL HANDLE |
10 |
|
10 |
7A527A |
CONTROL ROD 27 - 1/4 |
5 |
|
11 |
7A537A |
CONTROL ROD 36-1/2 |
4 |
|
12 |
7A536T |
TILT CONTROL ROD 36-1/2 |
1 |
|
13 |
7A519A |
HANDLE CROSS ROD |
2 |
|
14 |
83215 |
NUT 3/8-24 FINE THREAD |
12 |
|
15 |
82220 |
3/8 LOCK WASHER |
2 |
|
16 |
82210 |
3/8 FLAT WASHER |
2 |
|
|
|
|
commonFooter();
?>