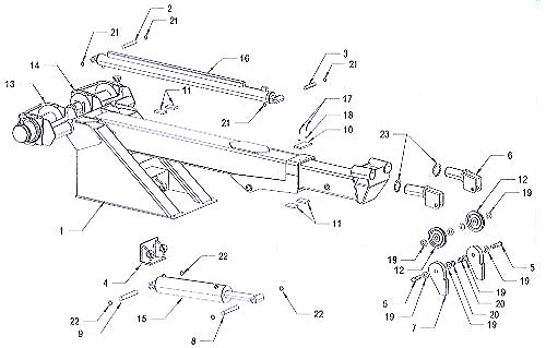
|
ITEM |
PART
NUMBER |
DESCRIPTION |
NUMBER
REQUIRED |
|
1 |
60164 |
TWIN LINE BOOM 12-1/2" DRUM |
1 |
|
- |
60165 |
TWIN LINE BOOM 10" DRUM |
1 |
|
2 |
613A1 |
PIN - BOOM EXTENSION CYLINDER BASE |
1 |
|
3 |
613A2 |
PIN - BOOM EXTENSION CYLINDER ROD |
1 |
|
4 |
61320 |
LIFT CYLINDER BASE MOUNT |
1 |
|
5 |
61368 |
PULLEY BOLT |
2 |
|
6 |
61369 |
SWIVEL INSERT |
2 |
|
7 |
61379 |
CABLE FOLLOWER |
2 |
|
8 |
61383 |
PIN - BOOM LIFT CYLINDER ROD |
1 |
|
9 |
61384 |
PIN - BOOM LIFT CYLINDER BASE |
1 |
|
10 |
61410 |
BOOM BEARING PAD |
1 |
|
11 |
61735 |
NYLATRON WEAR PAD |
4 |
|
12 |
69125 |
PULLEY - 6" |
2 |
|
13 |
71105L |
WINCH SERIES 12 (10" DRUM) |
1 |
|
- |
71106L |
WINCH SERIES 12 (12-1/2" DRUM) |
1 |
|
14 |
71105R |
WINCH SERIES 12 (10" DRUM) |
1 |
|
- |
71106R |
WINCH SERIES 12 (12-1/2" DRUM) |
1 |
|
15 |
72141 |
CYLINDER - BOOM LIFT |
1 |
|
16 |
72150 |
CYLINDER - BOOM EXTENSION |
1 |
|
17 |
81117 |
BOLT - 5/16 x 7/8 |
2 |
|
18 |
82130 |
FLAT WASHER - 5/16 |
2 |
|
19 |
82717 |
FLAT WASHER - 1 x 1.75 |
8 |
|
20 |
83610 |
NUT - 7/8 NYLON LOCK |
2 |
|
21 |
86100I |
SNAP-RING 1.00" INTERNAL |
4 |
|
22 |
86125I |
SNAP-RING 1.25" INTERNAL |
4 |
|
23 |
86287E |
SNAP-RING 2.875" EXTERNAL |
2 |